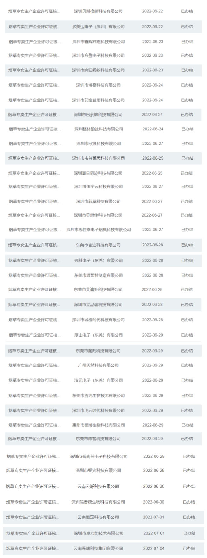
根據國家煙草專賣局全國一體化在線政務服務平臺、國家煙草專賣局政務服務行政許可網上辦理平臺所公布消息,又有37+家電子煙品牌獲得煙草專賣生產企業許可證,分別為:

以下為煙草專賣生產企業許可證核發已辦結名單:

根據國家煙草專賣局一體化在線政務服務平臺,國家煙草專賣局政務服務行政許可網上辦理平臺上一次更新信息,已公布64家企業已辦結,加上此次更新的37+,目前已有101+企業拿到了電子煙生產許可證,以下為此前64家企業已辦結的名單

400-8388-163
189-2289-2579
迪斯尼(Disney)驗廠 沃爾瑪(Wal-Mart)驗廠 好市多(COSTCO)驗廠 杰西潘尼(JCPenney)驗廠 孩之寶(hasbro)驗廠 塔吉特(Target)驗廠 亞馬遜(Amazon)驗廠 麥當勞(McDonald)驗廠 雅芳(AOVN)驗廠 宜家(IKEA)驗廠 星巴克(Starbucks)驗廠 可口可樂(COCA COLA)驗廠 家樂福(Carrefour)驗廠 百思買(BestBuy)驗廠 樂購(tesco)驗廠 凱馬特(Kmart)驗廠 利豐(Li&Fung)驗廠 阿迪達斯(Adidas)驗廠 彪馬(PUMA)驗廠 Argos驗廠 迪卡儂(Decathlon)驗廠 史泰博(Staples)驗廠 美泰(Mattel)驗廠 梅西(Macy's)驗廠 耐克(NIKE)驗廠 西爾斯(Sears)驗廠 家得寶(Home Depot)驗廠
Amfori BSCI SEDEX 供貨商商業道德信息交流 EICC(RBA)國際電子行業行為守則認證 WRAP 全球可信賴成衣生產規范認證 WCA 供應商行為準則 SQP 供應商質量評估守則 SA8000 社會責任標準 ICTI 國際玩具協會商業行為守則認證 CSR/COC/ISO26000 社會責任報告 FCCA驗廠 WRC 工人權利聯合會社會責任管理體系 ETI 英國正當商貿倡導者聯盟認證
ISO9001:2015 國際質量管理體系 ISO13485:2016 國際醫療器械管理體系 ISO22716:2007/GMPC 化妝品良好生產規范 QC080000:2017 有害物質過程管理體系 IATF16949:2016 汽車行業質量管理體系要求 GMP/cGMP (食品/食品包材/藥品接觸類)良好操作規范
ISO28000:2007 供應鏈管理體系 GSV 全球供應商反恐安全驗證 C-TPAT 海關商貿聯合反恐計劃認證 ZB-CS-04 供應鏈安全管理體系認證規則
FSC-COC 森林認證 ISO14025:2006 環境標志國際標準認證 ISO14001:2015 國際環境管理體系
BRC 全球消費品管理體系 HACCP 食品生產關鍵點控制管理體系 ISO/FSSC22000:2005 食品安全管理體系
ISO45001:2016 (原OHSAS18001:2011) 職業健康安全管理體系 ISO37001:2016 反賄賂管理體系
根據國家煙草專賣局全國一體化在線政務服務平臺、國家煙草專賣局政務服務行政許可網上辦理平臺所公布消息,又有37+家電子煙品牌獲得煙草專賣生產企業許可證,分別為:

以下為煙草專賣生產企業許可證核發已辦結名單:

根據國家煙草專賣局一體化在線政務服務平臺,國家煙草專賣局政務服務行政許可網上辦理平臺上一次更新信息,已公布64家企業已辦結,加上此次更新的37+,目前已有101+企業拿到了電子煙生產許可證,以下為此前64家企業已辦結的名單

一對一專業服務
人脈廣,經驗豐富
回復快,通過快
省錢又省力
不通過,全額退款



共有條評論 網友評論